您好!欢迎访问「常州高可智能科技有限公司」网站!

NTN RNA4922S轴承尺寸、参数、图纸、互换、价格

NTN RNA4922S轴承

更新时间:2026.04.26

轴承型号:RNA4922S,游隙可调滚针轴承不带内圈

技术研究
技术研究 如您是工程师,需要对轴承进行研究、计算、选型等,都可以直接联系我,微信:caloc-cn。
产品咨询
产品咨询 如您对产品有任何需求,包括询价、采买以及替换等,都可以直接联系我,联系方式如下。
在线咨询咨询热线
138 6103 7112
电话咨询电话/微信(长按复制)
13504113081

NTN RNA4922S轴承技术规格

类型 游隙可调滚针轴承
滚子型式 滚针
轴承类型 滚针轴承
结构 单列
轴承设计型式 不带内圈
材质 高碳铬钢
保持架材质
极限转速-油润滑 3200转/分钟
极限转速-脂润滑 2100转/分钟
精度 ISO Class 0
附件 开式
基本额定静载荷 41500 lbf
184000 N
184.00 kN
基本额定动载荷 17000 lbf
75500 N
75.50 kN
重量 2.293 lb
1.040 kg
应用温度范围 -40 to 250 ºF
-40 to 120 ºC

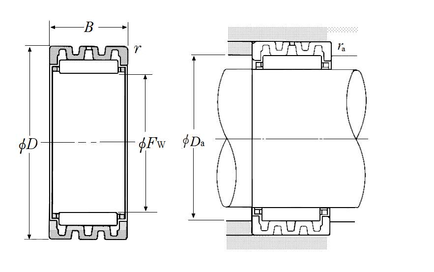
NTN RNA4922S轴承尺寸规格

游隙可调滚针轴承不带内圈 - 尺寸
Fw 4.9213 in
125.000 mm
D 5.9055 in
150.000 mm
B 1.5748 in
40.000 mm
r 0.0433 in
1.100 mm
Da max 5.3150 in
135.000 mm
ras max 0.0394 in
1.000 mm
NTN RNA4922S轴承图纸
尺寸图
轴承推荐