INA KWVE25-B-EC-V1-G3轴承尺寸、参数、图纸、互换、价格
INA KWVE25-B-EC-V1-G3轴承
更新日期:2025-03-17 20:32:55
市场价:¥621.61元
销售价:电话咨询
库存:85套
INA KWVE25-B-EC-V1-G3轴承属于托架 KWVE..-B-EC 系列,互换性好,短车架,四列。
前缀列表:【KWVE:四列循环滚珠滑块(与TKVD导轨组成KUVE系列成套直线导轨)】。后缀列表:【-B:系统版本 B】【-EC:短型滑块】【-V1:预压等级 V1级】【-G3:精度等级 G3级】。
技术研究
如您是工程师,需要对轴承进行研究、计算、选型等,都可以直接联系我,微信:caloc-cn。
产品咨询
如您对产品有任何需求,包括询价、采买以及替换等,都可以直接联系我,联系方式如下。
在线咨询咨询热线
138 6103 7112
138 6103 7112
电话咨询电话/微信(长按复制)
13504113081
13504113081
K
W
V
E
2
5
-
B
-
E
C
-
V
1
-
G
3
KWVE:四列循环滚珠滑块(与TKVD导轨组成KUVE系列成套直线导轨)
25:导轨大小:25 mm
-B:系统版本 B
-EC:短型滑块
-V1:预压等级 V1级
-G3:精度等级 G3级
KWVE:
四列循环滚珠滑块(与TKVD导轨组成KUVE系列成套直线导轨)
25:
导轨大小:25 mm
-B:
系统版本 B
-EC:
短型滑块
-V1:
预压等级 V1级
-G3:
精度等级 G3级
| 主要尺寸&性能数据 | ||
| H | 33 mm | 系统高度 |
| B | 73 mm | 托架宽度 |
| L | 58.2 mm | 托架全长 |
| C | 12,500 N | 额定动载荷 |
| C | 22,200 N | 额定静载荷 |
| M0x | 305 Nm | 轴静态力矩额定值 X |
| M0y | 155 Nm | 轴静态力矩额定值 Y |
| M0z | 155 Nm | 轴静态力矩额定值 Z |
| 0.43 kg | 重量 | |
| 安装参数 | ||
| VMKB_065 | KWVE | 材料名称 |
| A1 | 25 mm | |
| JB | 60 mm | |
| b | 23 mm | 宽轨 |
| A2 | 6.5 mm | |
| L1 | 35.6 mm | |
| LS | 1.65 mm | |
| H1 | 5.1 mm | |
| H4 | 7.85 mm | |
| H5 | 5.25 mm | |
| T5 | 10 mm | |
| K3 | M6 | 固定螺钉(DIN ISO 4762-12.9) |
| K3 MA | 17 Nm | 最大拧紧力矩 |
| D2 | 6.7 mm | |
| A3 | 8 mm | 润滑接头 |
| G3 | M6 | 润滑接头 |
| t G3 | 7 mm | 润滑接头的最大允许螺钉深度 |
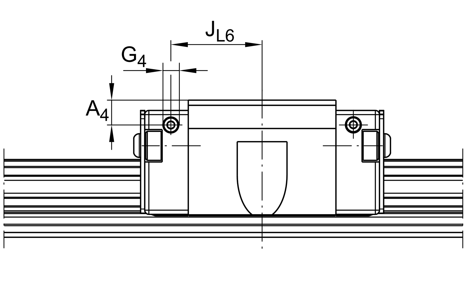
| A4 | 6 mm | 润滑接头 |
| G4 | M3 mm | 润滑接头 |
| t G4 | 6 mm | 润滑接头的最大允许螺钉深度 |
| JL6 | 22 mm | 润滑接头 |
| 尺码代码 | 25 | |
| 版本 | B | |
| 托架设计 | EC | 膨胀设计,短托架(无螺纹托架) |
| 预紧 | V1 | 一级预紧 |
| 精度等级 | G3 |

