NTN NNU4992轴承尺寸、参数、图纸、互换、价格
NTN NNU4992轴承
更新时间:2026.04.26
轴承型号:NNU4992,双列圆柱滚子轴承 - 圆柱孔 - NN型U,可替换的SKF轴承型号为:SKF NNU4992B/SPW33轴承,其基础型号为4992,前缀列表:【NNU:内圈可双向分离,外圈不可分离】
技术研究
如您是工程师,需要对轴承进行研究、计算、选型等,都可以直接联系我,微信:caloc-cn。
产品咨询
如您对产品有任何需求,包括询价、采买以及替换等,都可以直接联系我,联系方式如下。
在线咨询咨询热线
138 6103 7112
138 6103 7112
电话咨询电话/微信(长按复制)
13504113081
13504113081
N
N
U
4
9
9
2
NNU:内圈可双向分离,外圈不可分离
49:双列圆柱滚子轴承 49系列
92:内径:460 mm
NNU:
内圈可双向分离,外圈不可分离
49:
双列圆柱滚子轴承 49系列
92:
内径:460 mm
| 类型 | 圆柱滚子轴承 |
| 内孔型式 | 圆柱型 |
| 材质 | 硬化合金钢 |
| 保持架材质 | 高强度,两片接合式,机加工黄铜 |
| 极限转速-油润滑 | 950转/分钟 |
| 极限转速-脂润滑 | 800转/分钟 |
| 精度 | ISO Class 0 |
| 结构 | 双列 |
| 公差 | ISO Class 0(RBEC 1) |
| 注油孔 | 不带注油孔 |
| 径向游隙 | CN |
| 基本额定静载荷 | 1320000 lbf 5850000 N 5850.00 kN |
| 基本额定动载荷 | 500000 lbf 2220000 N 2220.00 kN |
| 附件 | 开式 |
| 应用温度范围 | -40 to 250 ºF -40 to 120 ºC |
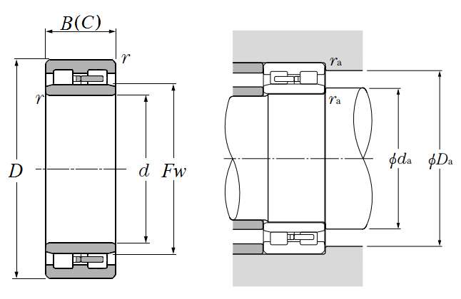
| 双列圆柱滚子轴承 - 圆柱孔 - NN型U - 尺寸 | |
| d | 18.1102 in 460.000 mm |
| D | 24.4094 in 620.000 mm |
| B | 6.2992 in 160.000 mm |
| C | 6.2992 in 160.000 mm |
| Fw | 20.1575 in 512.000 mm |
| r | 0.1575 in 4.000 mm |
| da min | 18.7402 in 476.000 mm |
| db min | 19.2520 in 489.000 mm |
| Da max | 23.7795 in 604.000 mm |
| ras max | 0.1181 in 3.000 mm |