您好!欢迎访问「常州高可智能科技有限公司」网站!

NTN KBK11X14X13.5X1轴承尺寸、参数、图纸、互换、价格

NTN KBK11X14X13.5X1轴承

更新时间:2026.04.27

轴承型号:KBK11X14X13.5X1,用于活塞销的滚针和保持架组件

技术研究
技术研究 如您是工程师,需要对轴承进行研究、计算、选型等,都可以直接联系我,微信:caloc-cn。
产品咨询
产品咨询 如您对产品有任何需求,包括询价、采买以及替换等,都可以直接联系我,联系方式如下。
在线咨询咨询热线
138 6103 7112
电话咨询电话/微信(长按复制)
13504113081

NTN KBK11X14X13.5X1轴承技术规格

类型 滚针和保持架组件
材质 高碳铬钢
保持架材质 机加工钢
附件 开式
精度 ISO Class 0
基本额定静载荷 1630 lbf
7250 N
基本额定动载荷 1320 lbf
5850 N
重量 0.010 lb
0.004 kg

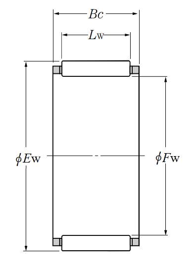
NTN KBK11X14X13.5X1轴承尺寸规格

用于活塞销的滚针和保持架组件 - 尺寸
Fw 0.4331 in
11.000 mm
Ew 0.5512 in
14.000 mm
Bc 0.5315 in
13.500 mm
Bc公差 0/-0.2
Lw 0.4252 in
10.800 mm
NTN KBK11X14X13.5X1轴承图纸
尺寸图
轴承推荐