您好!欢迎访问「常州高可智能科技有限公司」网站!

NTN K265X280X50L1轴承尺寸、参数、图纸、互换、价格

NTN K265X280X50L1轴承

更新时间:2026.04.26

轴承型号:K265X280X50L1,滚针和保持架组件

技术研究
技术研究 如您是工程师,需要对轴承进行研究、计算、选型等,都可以直接联系我,微信:caloc-cn。
产品咨询
产品咨询 如您对产品有任何需求,包括询价、采买以及替换等,都可以直接联系我,联系方式如下。
在线咨询咨询热线
138 6103 7112
电话咨询电话/微信(长按复制)
13504113081

NTN K265X280X50L1轴承技术规格

类型 滚针和保持架组件
材质 高碳铬钢
保持架材质 机加工黄铜
极限转速-油润滑 1500转/分钟
极限转速-脂润滑 1000转/分钟
附件 开式
精度 ISO Class 0
基本额定静载荷 191000 lbf
850000 N
基本额定动载荷 57500 lbf
256000 N
重量 3.898 lb
1.768 kg

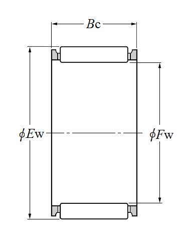
NTN K265X280X50L1轴承尺寸规格

滚针和保持架组件 - 尺寸
Fw 10.4331 in
265.000 mm
Ew 11.0236 in
280.000 mm
Bc 1.9685 in
50.000 mm
Bc公差 -0.2/-0.55
NTN K265X280X50L1轴承图纸
尺寸图
轴承推荐