您好!欢迎访问「常州高可智能科技有限公司」网站!

NTN WC88604C3轴承尺寸、参数、图纸、互换、价格

NTN WC88604C3轴承

更新时间:2026.04.26

轴承型号:WC88604C3,单列深沟球轴承 - 双面密封(接触式橡胶密封),WC88000系列,其基础型号为88604,前缀列表:【WC:宽外圈,毡密封深沟球轴承,农业和园艺设备专用】,后缀列表:【C3:C3游隙】

技术研究
技术研究 如您是工程师,需要对轴承进行研究、计算、选型等,都可以直接联系我,微信:caloc-cn。
产品咨询
产品咨询 如您对产品有任何需求,包括询价、采买以及替换等,都可以直接联系我,联系方式如下。
在线咨询咨询热线
138 6103 7112
电话咨询电话/微信(长按复制)
13504113081

NTN WC88604C3轴承代号说明

W
C
8
8
6
0
4
C
3
WC:宽外圈,毡密封深沟球轴承,农业和园艺设备专用
886:农业和园艺设备专用深沟球轴承88000系列
04:内径:20 mm
C3:C3游隙
WC:
宽外圈,毡密封深沟球轴承,农业和园艺设备专用
886:
农业和园艺设备专用深沟球轴承88000系列
04:
内径:20 mm
C3:
C3游隙

NTN WC88604C3轴承技术规格

类型 深沟球轴承
内孔型式 圆柱孔
材质 高碳铬钢
保持架型式 压制
保持架材质
滚珠材质
极限转速-脂润滑 10000转/分钟
密封型式 接触式
密封圈材质 丁腈橡胶
结构 单列
径向游隙 C3
精度 ISO Class 0
基本额定静载荷 1770 lbf
7850 N
7.85 kN
基本额定动载荷 3600 lbf
16000 N
16.00 kN
附件 双面密封
应用温度范围 -40 to 250 ºF
-40 to 120 ºC

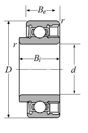
NTN WC88604C3轴承尺寸规格

单列深沟球轴承 - 双面密封(接触式橡胶密封),WC88000系列 - 尺寸
d 0.7874 in
20.000 mm
D 2.0472 in
52.000 mm
Be 0.7480 in
19.000 mm
Bi 0.9055 in
23.000 mm
总宽度 0.9055 in
23.000 mm
r 0.0591 in
1.500 mm
NTN WC88604C3轴承图纸
尺寸图
轴承推荐