您好!欢迎访问「常州高可智能科技有限公司」网站!

NTN HPS102GP轴承尺寸、参数、图纸、互换、价格

NTN HPS102GP轴承

更新时间:2026.04.26

轴承型号:HPS102GP,带紧定衬套的轴承 - HP型,六角孔,球面外圈,其基础型号为102,前缀列表:【HP:盘式轴承】【S:球面外圈】,后缀列表:【G:单层唇封】【P:不可再润滑】

技术研究
技术研究 如您是工程师,需要对轴承进行研究、计算、选型等,都可以直接联系我,微信:caloc-cn。
产品咨询
产品咨询 如您对产品有任何需求,包括询价、采买以及替换等,都可以直接联系我,联系方式如下。
在线咨询咨询热线
138 6103 7112
电话咨询电话/微信(长按复制)
13504113081

NTN HPS102GP轴承代号说明

H
P
S
1
0
2
G
P
HP:盘式轴承
S:球面外圈
102:轴径:1.125 in
G:单层唇封
P:不可再润滑
HP:
盘式轴承
S:
球面外圈
102:
轴径:1.125 in
G:
单层唇封
P:
不可再润滑

NTN HPS102GP轴承技术规格

类型 重型盘式轴承
内孔型式 六角头
外圈类型 球面
材质 淬透钢
保持架型式 压制
保持架材质
滚珠材质
密封型式 接触式
密封圈材质 丁腈橡胶
精度等级 ISO Class 0
结构 单列
润滑方式 不可再润滑
游隙 CN
基本额定静载荷 3450 lbf
15300 N
15.30 kN
基本额定动载荷 5800 lbf
25700 N
25.70 kN
附件 双面密封
重量 1.005 lb
0.456 kg
应用温度范围 -40 to 250 ºF
-40 to 120 ºC

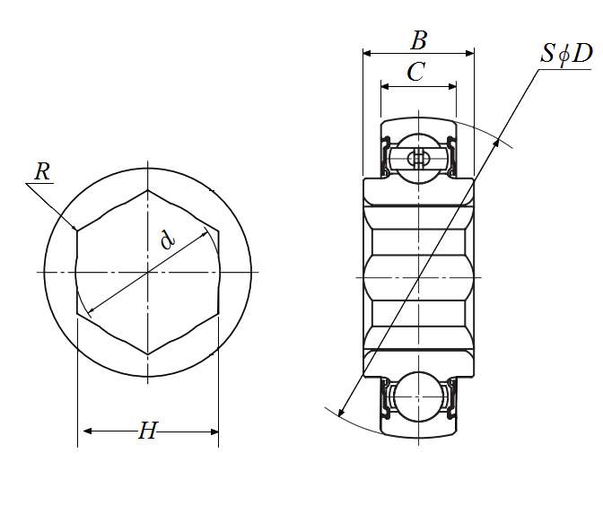
NTN HPS102GP轴承尺寸规格

带紧定衬套的轴承 - HP型,六角孔,球面外圈 - 尺寸
H(0.0050/0) 1.1260 in
28.600 mm
D 2.8346 in
72.000 mm
C(0/-0.0047) 0.6693 in
17.000 mm
B(0/-0.0047) 1.4843 in
37.700 mm
d 1.1535 in
29.300 mm
R 0.0098 in
0.250 mm
轴径 1.8750 in
47.625 mm
NTN HPS102GP轴承图纸
尺寸图
轴承推荐