您好!欢迎访问「常州高可智能科技有限公司」网站!

NTN 22326UAVS1轴承尺寸、参数、图纸、互换、价格

NTN 22326UAVS1轴承

更新时间:2026.04.26

轴承型号:22326UAVS1,振动筛用调心滚子轴承 - 圆柱孔,其基础型号为22326,后缀列表:【UA:用于振动应用】【VS1:振动筛轴承的特殊公差等级(等同于C3游隙)】

技术研究
技术研究 如您是工程师,需要对轴承进行研究、计算、选型等,都可以直接联系我,微信:caloc-cn。
产品咨询
产品咨询 如您对产品有任何需求,包括询价、采买以及替换等,都可以直接联系我,联系方式如下。
在线咨询咨询热线
138 6103 7112
电话咨询电话/微信(长按复制)
13504113081

NTN 22326UAVS1轴承代号说明

2
2
3
2
6
U
A
V
S
1
2:调心滚子轴承
2:宽度尺寸系列:2系列
3:外径尺寸系列:3系列
26:内径:130 mm
UA:用于振动应用
VS1:振动筛轴承的特殊公差等级(等同于C3游隙)
2:
调心滚子轴承
2:
宽度尺寸系列:2系列
3:
外径尺寸系列:3系列
26:
内径:130 mm
UA:
用于振动应用
VS1:
振动筛轴承的特殊公差等级(等同于C3游隙)

NTN 22326UAVS1轴承技术规格

类型 振动筛用调心滚子轴承
内孔型式 圆柱孔
材质 淬透钢
保持架型式 机加工
保持架材质 黄铜
系列 223
径向游隙 CN
外圈矫正 直接
公差 特殊
基本额定静载荷 315000 lbf
1400000 N
1400.00 kN
基本额定动载荷 283000 lbf
1260000 N
1260.00 kN
附件 开式
重量 62.435 lb
28.320 kg
应用温度范围 -40 to 250 ºF
-40 to 120 ºC

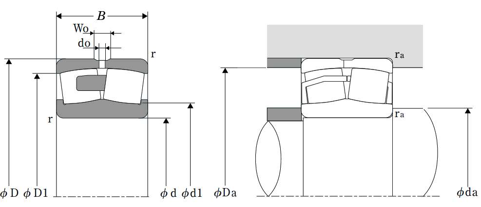
NTN 22326UAVS1轴承尺寸规格

振动筛用调心滚子轴承 - 圆柱孔 - 尺寸
d 5.1181 in
130.000 mm
D 11.0236 in
280.000 mm
B 3.6614 in
93.000 mm
d1 6.4567 in
164.000 mm
D1 9.5669 in
243.000 mm
r 0.1575 in
4.000 mm
W0 0.3543 in
9.000 mm
NTN 22326UAVS1轴承图纸
尺寸图
轴承推荐